| OddMix RADIOTECHNICS - 1939 RADIO |
Telefunken 239U Three Tube Radio 1939 Vintage Restoration Data Picture Schematic 2
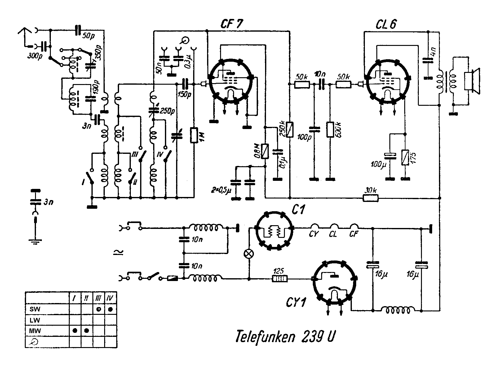
This transformerless, universal set used 110 V AC or DC and a plug in special resistor called a baretter, marked C1 on the shematic. The set used a half wave rectifier using the standard CY1 power rectifier diode tube. The CF7 reflex audion was followed by the powerful CL6 audio output stage. Audio input is provided for the record player, coupled directly to the base of the CF7. Note the intricate filter arrangement made to separate the RF from the first stage and send back the audio for another round of amplification. This set, as many others at the time, used the speaker magnet coil as a power supply filter coil, that is seen between the two 16uF electrolitic capacitors.
![Telefunken 239U Three Tube Radio 1939 Vintage Restoration Data Schematic [13 KB]](px/r39_telefunken_239u.gif)
| Copyright © 2015 K Nagy - http://www.OddMix.com - All Rights Reserved Page Revised: 2015-01-01 - - Privacy Policy - Site Map - Support | ![]() |
